Toggle navigation
信息学精准学
常见问答
讨论版
问题
来源/分类
状态
排名
竞赛&作业
Login
Language
中文
ئۇيغۇرچە
English
فارسی
ไทย
한국어
问题 B: 八上第六课 多分支结构 简易计算器
问题 B: 八上第六课 多分支结构 简易计算器
[命题人 :
]
时间限制 :
1.000
sec
内存限制 :
128 MB
解决: 24
提交: 51
统计
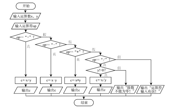
题目描述
编写程序,实现算数四则运算的简易计算器功能。
输出
当除数为0时,输出:除数不能为零
当运算符有误时,输出:运算符输入有误
样例输入
Copy
2.5 3.2 +
样例输出
Copy
5.7